
【产品用处】
集团出产的Z61Y-250、Z61Y-320 型高压电站闸阀:手动、对接焊衔接大局、明杆楔式刚性单闸板,阀座密封面资料为硬质合金,公称压力 PN250~PN320,阀体资料为碳素钢的高温高压电站闸阀。
【结构特点】
高温闸阀也称电站专用阀门,重要用于火力电站各类系统的管路上,堵截或接通管路介质。合用介质:水、蒸汽等非侵蚀性介质。电站阀门与其他阀门产品相比的特点是高温高压,怪异的自密封设计,压力越高,密封越靠得住。由于机能技术个性,工况的特殊使产品也形成了其他产品所包办不了的特点。
1、启关无摩擦。这一职能解决了传统阀门因密封面之间相互摩擦而影响密封面的问题。
2、上装式结构。对装在管路上的阀门可直接在线查抄与维建,能有效削减装置停车,降低成本。
3、单座阀设计。解除了阀门中腔介质因异常升压而影响使用安全的问题。
4、低扭矩设计。特殊结构设计的阀杆,只需配一个幼手把阀门就能轻松启关。
5、楔形密封结构。阀门是靠阀杆提供的机械力,将闸板楔压到阀座上而密封,使阀门的密封性不受管线压差变动的影响,在各类工况下密封机能都有靠得住保障。
6、密封面的自清洁结构。倒丌板倾离阀座时,管线中的流体沿闸板密封面成360度均匀通过,不仅解除了高快流体对阀座部门的冲刷,也冲走了密封面上的荟萃物,达到自清洁的主张。
【设计尺度】
设计尺度:GB/T 12234-2007
结构长度GB/T 12221-2005
对焊衔接尺寸NB/T 4704-2014
试验与检验NB/T 4704-2014
压力-温度:NB/T 4704-2014
【机能参数】
|
型号 |
PN |
工作压力/MPa |
合用温度/℃ |
合用介质 |
阀体 |
|
Z61Y-250 |
250 |
25 |
≤570 |
水、蒸汽 |
WC9 |
|
Z61Y-320 |
320 |
32 |
≤570 |
水、蒸汽 |
WC9 |
【重要零件资料】
|
型号 |
资料 |
||||
|
阀体 |
阀板 |
阀盖 |
阀杆母 |
填料 |
|
|
Z61Y-250 |
WC9 |
WC9 |
WC9 |
38CrMoA1A |
柔性石墨 |
|
Z61Y-320 |
WC9 |
WC9 |
WC9 |
38CrMoA1A |
柔性石墨 |
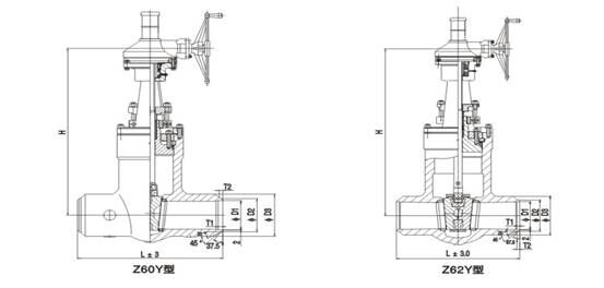
【重要表形和衔接尺寸】
|
DN |
L |
D |
H |
D0 |
沉量/Kg |
|
50 |
280 |
82 |
585 |
300 |
42 |
|
65 |
340 |
110 |
650 |
320 |
53 |
|
80 |
475 |
130 |
680 |
400 |
130 |
|
100 |
500 |
170 |
755 |
450 |
180 |
|
125 |
600 |
195 |
830 |
500 |
190 |
|
150 |
700 |
225 |
1050 |
550 |
320 |
|
175 |
750 |
255 |
1050 |
600 |
400 |
|
200 |
800 |
285 |
1050 |
650 |
550 |
|
225 |
850 |
300 |
1100 |
700 |
600 |
【结构图片】

